
服务热线
来源: 发表时间:2015-05-19 17:24:34 点击次数:【】
弹簧式圆锥破碎机具有破碎比大、效率高、功耗少、产品粒度均匀和适于破碎硬物料等特点,所以当今世界各国仍广泛地采用,并对它进行了改进,采用液压装置等,使它更加完善。
弹簧式圆锥破碎机具有比旋回破碎机高2.5倍的转速和大4倍的摆动角。在这样高转速、大冲程的破碎过程中,破碎腔内的物料,不是像旋回破碎机那样,受运动较侵、冲程较小的动锥的挤压,而是受大冲程的快速冲击。这样的冲击破碎方法,有利于物料的破碎,因此破碎效率高。
由于弹簧式圆锥破碎机高转速、大冲样的缘故,破碎腔内的物料,有95%的时间处于沿锥面下滑的运动状态,也就是在任意瞬间,物料只有5%处于被破碎状态。由于物料95%的时间处于下滑状态,破碎腔的通过能力大,则产量就高。由于物料只有5%处于被破碎状态,也就是整个破碎腔只有5%的面积用十破碎物料,因此它的功耗小。并且,在破碎腔的局部面积上,产生很高的对物料单位面积上的压力,就便它适于破碎硬矿石。由于其转速高相破碎腔下部没有长度不问的平行区,保证物料在乎行区内至少被破碎一次的缘故,因此弹簧式圆锥破碎机的产品粒度均匀。
弹簧式圆锥破碎机可用于中、细碎。中、细碎弹簧式圆锥破碎机的不同点,在于破碎腔的形状和尺寸的不同,其他结构原理完全一样。我国生产的弹簧式圆锥破碎机,根据破碎腔的形状可分为标准型(中碎用)、中型(小、细碎用)和短头型(细碎用)三种形式。其巾,以标准型和短头型应用最广。弹簧式圆锥破碎机的规格,用动锥大头直径D表示。
例如:PYT—1219表示弹簧式圆锥破碎机,其动锥大头直径为1200mm,给料口尺寸为190mm。
原来所用的标记是用汉语拼音字母和动锥大头直径表示,如PYB2200,PYZ2200和PYc6200。其中,P为破碎机,Y为圆锥,B为标准型,Z为中型,D为短头型,2200为动锥大头直径(mm)。弹簧式圆锥破碎机的破碎腔断面形状,如图4-1所示。其破碎腔尺寸见表4-1。


弹簧式圆锥破碎机的构造如图4—2所示G破碎机的工作机构是由带锰钢衬板16的破碎锥和带锰钢衬板12的调整环10组成。破碎锥的锥体17与其衬板16之间要浇注 层锌合金,以保证其紧密结合。衬板12与调整环10之间也浇注——层锌合金,同时,用u形螺钉通过衬板上的挂钩,将其恳挂在调整环上,以保证紧固的连接。
破碎锥的锥体17压装在锥形轴上。锥形轴的一端装入偏心轴套31的锥形孔内。在偏心轴套的锥形孔中装有青铜(或MC一6尼龙)衬套30。偏心轴套放入机架7的中心套筒25中,其间还装有青铜(或MC一6尼龙)衬套26。偏心铀套与衬套26的间隙及锥形轴与锥形衬套30的间隙(见图4-3)对保证破碎机的正常运转极为重要.间隙过大会引起偏心轴套印锥形轴很大的倾斜,使衬套局部发热;间隙过小也会引起衬套发热,甚至会因金属扩散作用使衬套发热部分缩小而将锥形轴夹紧。表4-2为圆锥破碎机衬套的许用间隙。
电动机1的旋转运动通过弹性联轴节2、传动袖3和圆锥齿轮副4与5传给偏心轴套,使其绕破碎机中心线转动。当偏心轴套旋转时,支承在球面轴瓦20上的破碎圆锥便绕固定点O摆动,从而使物料在破碎空间不断地遭到挤压和弯曲作用而破碎。被破碎的物料从支承在框架上的给料箱14落到给料盘13上,由此再均匀地落入破碎锥周围的破碎空间内。破碎后的物料,从两锥体下部的排料缝隙经过联接机架7与卞心套筒25的筋板24之间的空隙落到破碎机下面的皮带运输机上运走。


偏心轴套31支承在由三片圆盘组成的止推轴承27上.最下面的钢圆盘固定在机架下盖28上,上面的钢圆盘与偏心轴套用销钉相联,并随之转动,而中间的青铜圆盘则作相对滑动。青铜圆盘的总厚度每年至少要检查两次,因为青铜圆盘磨损后,就要减少圆锥齿轮的啮合间隙。圆锥齿轮啮合侧面向隙不足.就会在齿面和传动轴的轴展上产生很大的附加负荷。圆锥齿轮的啮合间隙,如图4—4所示。其值见表4-3。

为了平衡破碎锥作回转运动而产生的惯性力矩,保证偏心轴套与机架衬套26沿全长接触,并使偏心轴套的厚边紧压相机架的衬套上,所以,在大圆锥齿轮上铸有平衡重。破碎推文承在球面轴承座21的球面轴瓦20上。为了满足破碎锥作涌回运动的要求,破碎锥体17的下表面至做成球形。为了保证破碎机正常工作,必须使破碎锥体17的球面半径比球面轴瓦的球面半径大一些。在这种情况下,破碎锥体将会支持在球面轴瓦的外圆,工作一个时期后,则支持在球面的整个表面上。
为了防止灰尘进入机器的摩擦表面,在球面轴承上装有水封防尘装置。在局面轴承应21上有盛水或盛不结冻液体9的环形槽23,而在破碎镕下端固定有球形强圈22,其下端插入环形槽的水中,球形颈圈把灰尘挡住,使灰尘落入水中,这样就防止灰尘进入机器内部,水或其他液体不断的循环流动,清水从专用水箱用水泵经由进水管送入漕中,带有灰尘的水则从排水管排出。
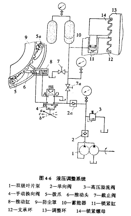
支承环8和调整环lo组成了调节排料口缝隙的调整装置。支承环安装在机架7的上部,用装置在破碎机周围的弹簧6与机架贴紧。支承环的上面有锁紧螺母18。支承环上部装有锁紧油缸及活塞19(1200圆锥破碎机装10个油缸,1750圆锥破碎机装12个油缸,2200圆锥破碎机装16个泊缸)。防尘罩11装于女承环亡,外部周边焊有矩形齿块。两对拨爪33及一对推动油缸9均分别安装在支承环上,如图4-5所示。排料口液压调整装置的液压系统见图4-6。


调整排料口,是靠推动缸8,通过防尘罩9的凸台,使调整环13旋转来实现。调整过程如下;首先将截止阀7打开,锁紧缸11油压从10MPa降至零,使调整环13与支承环12的连接螺纹放松。然后启动14MPa压力的双级叶片泵1,压力油通过单向阀2,高压溢流阀3(即安全阀,压力调到10MPa)和单向阀2a,进入三位四通手动换向阀4。
手动换向阀的手柄有三种不同位置,可以改变如下油流方向:
(1)手柄处于中间位置c时,各路不通;
(2)手柄处于向前推的位置a时,压力油进口P与A通,B与回油门O通;
(3)手柄处于向后拉位置b时,压力油进口P与B通,A与回油口O通;
当手动换向阎处于a位置时,A与N通,迫使推动缸活塞向前推进。由于推动头6的形状,推动过程能使拨爪5以O3点为中心向外摆动,离开防尘军9的凸台。当推动缸8推动防尘罩凸台,沿圆周方向运动一个凸台间距的过程中,推动缸8本身又以O1为中心自由转动,以适应凸台位置改变的需要。另一拨爪5a,在凸台沿圆周方向移动时,亦使拨爪5a以O2为户心向外摆动。
当推动缸完成一个凸台间距之后,将手动换向阀变为b位置,B与M通,推动缸即可后退。拨爪上装有弹簧,使它始终压在推动头6上。因此,在推动缸后退时,拨爪5和推动缸8分别以O3和Ol为中心逐渐自动复位,另一拨爪5a,亦在弹簧的作用下自动复位,两拨爪卡住凸台,起止动作用。
防尘罩旋转一个凸台的距离,排矿口约减小或增大1mm左右,调整排料口时,根据其具体的需要,按上述程序进行调整。排料口调好后,将手动换向阀改为c位置,此时调整系统全不通。打开截止阀7a,关闭截止阀7,待锁紧缸压力升至10MPa时,关闭截止阀7a,停止双级叶片泵1,破碎机即可开始工作。
蓄能器10,在液压系统中起补漏和缓冲作用。它由橡皮囊和外壳组成。里面充入氮气,一般气压充至7-8MPa。当油压最终达到10MPa之后,囊中的气体被压缩,蓄能器下部进入一部分液压油,以补充管路 各部的漏损。
当排料口需要增大时,可用手将推动缸向上抬起,把推动头6,从对着拨爪5转向对着拨爪5a的位置上,即可实行与前述相反方向的调整排矿口。
调整环的锯齿螺纹采用垫圈或橡皮圈密封。
安装在机架周围的弹簧6是破碎机的保险装置。当破碎腔中掉入非破碎物时,支承在弹簧上的支承环和调整环力求向上抬起而压缩弹簧6,从而增大了排料口间隙,使非破碎物经排料口排出,避免机件破坏。弹簧的张紧程度对机器的正常工作具有很大的意义。在拧紧弹簧时,应考虑到使其留有一定的压缩裕量。破碎机每组弹簧压缩后的工作高度见表4-4。

圆锥破碎机是采用稀油循环系统来润滑机器的圆锥齿轮4和5、偏心轴套31的内、外衬套30和26、球面轴瓦及传动轴的轴承等摩擦部件。油从机架下盖28侧壁上的进油孔29进入偏心油套下面的止推圆盘中,油经过圆盘的巾心孔沿其端面k的油沟流入,从而润滑止推圆盘的工作表面.同时,油从圆盘巾心孔沿偏心轴套与其内、外衬套的间隙亡升以润滑各摩擦表面,其次,还有一股油沿主铂上的中心孔上升而润滑球面轴瓦。从偏心轴套和球面轴瓦内溢出来的润滑油,润滑圆锥齿轮。最后,油便从排油孔排出而流回油箱中。传动轴轴承是采用单独的循环油路进行润滑的。
锯齿形调整螺纹的润滑是通过支承环侧壁卜的注油孔定期向螺纹中压入黄油。

润滑油站常用润滑油:冬季应采用L—TSA32和L—TSA46汽轮机油或者用L—AN32或L—AN46机械油;一般温度采用低速柴油机油或L—AN68机械油;夏季采用HG11汽缸油。
上述圆锥破碎机的排料口调整装置虽然用液压操纵,但结构仍为螺纹调整装置,由于难免灰尘进入螺纹内,所以排料口调整仍感困难,其次取出产在破碎腔中而不能被破碎的物体也很不方便。为了克服弹簧保险圆锥破碎机的缺点。我国已设计并制造出液压保险的多缸圆锥破碎机及液压调整和保险的底部单缸液压圆锥破碎机。
上一篇:矿物的机械强度对磨碎的影响
下一篇:底部单缸液压圆锥破碎机的构造
OD在线-OD在线(中国)
B体育·(中国)官网 - BSPORTS
bsports(中国)B—sports登录入口
千亿·球友会(中国)官方网站
qy球友会·(千亿)-官方网站
QY·千亿(球友会)官方网站
江南手机网页版_江南(中国)
万搏官方网页版-万搏(中国)
万搏登陆_万搏(中国)