
服务热线
来源: 发表时间:2015-05-08 14:08:35 点击次数:【】
磨矿机的发展情况:棒磨机出现于19世纪70年代,球磨机出现于19世纪四年代,它们均是应用了一百多年的老设备。这两种设备经历了上百年的自然淘汰而保存下来,说明它们的结构主体是可靠的,性能是良好的。但一百年中,这两种磨机也经历了不断的改进及完善。
多年来球磨机及棒磨机经历的主要变化是如下一些方面:(1)磨机大型化,为了适应矿业迅速发展的需要及进一步降低磨矿成本,二次世界大战后的30多年间,各国均在制造大型磨矿机,到20世纪70年代时,直径4.5—6.5m的大型磨机均在生产中成功应用,连棒磨机的规格也增大到4.5mm x6.3m,磨机安装功率达6000-15000马力,最大的球磨机DxL为8250mmx15250mm,安装功率27000马力。大型磨矿机的基建投资低,比功耗小和生产费用少。但直径3.8m以上磨机的比生产牢开始降低,因为愈大的磨机装球愈少。所以磨机也非愈大愈好。(2)新技术不断引入,改进原有的磨机部件,如微拖装置启动,这就可以减少安装功率.节省能耗。(3)新材料的应用改进易损部件质量,延长易损部件寿命。如橡胶衬板、磁性衬板、合金衬板反复合衬板等的应用。
在对传统磨机的结构及部件不断用新技术及新材料改进的同时,也出现了一些构造上有重大不同的磨机,在生产中取得一定的应用。
(1)环形电机无齿轮传动球磨机:这种磨机结构十分简单,磨机筒体上固定着电机的转子,筒体外罩着电机的转子,结构见图4-2-12。这种磨机的转速是通过双向离心变领器控制电机供电频率,使球磨机转速在一个小的范围内无级调节。可根据矿石可磨性的变化来自动调节磨矿机的产率。该磨机的处理能力1000t/h,最先在挪威的一个矿用,目前全世界已有50多台无齿轮传动磨机在生产中应用。它减少了一副传动齿轮,无疑节省了动力的消耗。

(2)周边排矿磨矿机:一般的磨矿机是从中空铀颈内排矿,此种磨矿机的排矿是从筒体周边上开的排矿孔排出的,由于这样,它的排矿水平低,排矿速度快,磨机生产率大,产品过粉碎轻,其结构示意图见固4-2-13。另一种是中部周边排矿磨矿机,这种磨机两端给矿,中间排矿,磨机的排矿更快。据称,生产宰比同规格磨机大25%,过粉碎轻,产品粒废粗,产品机械强度好。有的建筑业用它磨建筑用砂,制出的混凝土强度好。一些钨锡矿采用它来磨矿,产品过粉碎轻,高密度的钨矿物及锡石等能让筒壁快速徘出磨机。国外不少国家都制造及使用这种磨机。

(3)塔式磨矿机:20世纪50年代由日本研制成功,现已被欧美及其他国家在细密领域相继采用,至80年代中期,世界约有280多台塔式磨机用于各种物料的细密生产,其磨矿细度为1-100μm,单位电耗比卧式磨机降低50%—60%。塔式磨矿机的结构见图4-2-14。塔式磨机与卧式细磨机不同之处在于:介质充填率可以超过50%,甚至达70%-80%,大幅度增加研磨面积。螺旋叶片搅动磨内介质,形成充分的研磨作用。磨矿介质尺寸小于25mm,介质可以是钢球或砾石。产品从磨机上部排出,排出前先经圆锥分级机分级,溢流排出磨机,沉砂再进入磨机循环再磨。此种高效细磨机在世界各地已获广泛应用,技术比较成熟。

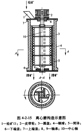
(4)离心磨:结构见图4-2-15。离心磨是一种新型的高效率超细密设备,它分为竖式和卧式两种。根据管的数目,前者又可分为单管和三管(行星式)离心磨。
单管式离心磨的构造如图4-2-15所示。

用铸铁、铸钢或钢板焊成的圆筒,它与两端盖相连.简内壁铺有高锰钢衬套,主轴支承在上下两端益上的滚柱轴承内,其上装有带叶片的圆盘,它将简体分成多个破碎室。在每室中只装数量不多伪钢球或棒。当电动机使竖铀、圆盘及叶片作高速回转时,球或樟因离心力作用沿筒壁重量起来,受叶片的推力贴着磨壁波动。由给矿则口入的矿石,也受离心力作用而沿着磨壁分布,因此.可使入密矿石在沿筒壁滚动的球与衬套之间铰磨纫了的矿石沿材套内壁与圆盘之间的环形壤问范至下一室,依次经多段落到排矿口,然后被排出机外。
由于离心房结构简单,易于制造,占厂房面积小,耗电低,效率高,生产率也大,适用于井下磨细作业。如能经济而合理地解决易磨部件的磨损问题,将是一种很有发展前途的痞矿设备。国外己逐步应用于生产上,据报道前苏联用500mm x3300M的离心磨取代了一向在精矿和中矿再磨作业中沿用的普通球磨机。既提高了生产率又能减少泥化现象,并准备用800mmx1000mm的离心磨代替大型选矿厂再磨中矿及精矿用的2700mmX3600mm的普通球磨。南非德班应用过三管竖式离心磨(或行星磨),并把它与单管作了比较,认为三管比单管运转时机构易于平衡,但给人-75mm的矿料不如单管式方便,尤其是用作井下设备时。指出单管可用作第一次磨细、于管适用于第二次细磨。
(5)振动磨:振动磨示意图见闻4-2-16。振动磨因具有磨细度高,生产率大,动力消耗低,小而轻便等优点,故近年来又有所发展,并在细磨领域内逐渐取得了一定的地位。

振动磨有惯性式和偏旋式2种。
惯性式振动磨的主轴2,安装在磨机筒体1两端的滚动轴承内,此轴即为磨机的振动器。当电动机通过弹性联轴节使主轴转动时,出于主轴中部是偏心的,它就产生了激发并维持筒体振动的离心惯性力。在它的作用下,使支承在弹簧上的磨机简体发生振动。简体上任一点的运动轨迹近似一椭圆,此椭圆的长轴接近于垂直,而短轴接近于水平方向。但作高频振动时,其运动轨迹可认为是一圆曲线。
偏旋式振动磨的简体是通过轴承4装在有恫心铀颈的轴2上,当安在主轴承3中的偏心轴2旋转时,则偏心轴颈的顶点强迫简体做阅轨迹振动。
钢球在简体内的运动情况,显然与普通球磨不同。由上图可清楚地看到,它们的运动方向是与简体的振动方向相反,例如简体做顺时针方向的圆振动,则钢球是按逆时针方向做封闭曲线的循环运动。除了这种总的循环外,尚有自转运动。给人磨内的待磨物料在高频冲击和研磨作用下,被磨细而排出。
振动磨的振动频率通常介于1500-3000次/min之间,振幅约2-4mm,装球率通常达75%—85%,这三者必须配合恰当,才能获得较多的冲击次数及较好的效果,否则磨细度将变粗,生产率也会降低。
振动磨是在高频下工作,而高频振动易使物料生成裂缝,且能在裂缝中产生相当高的应力集中,故它能有效地进行超细密。但此种机械的弹簧易于疲劳而破坏,衬板消耗也较大,所用的振幅较小,给矿不宜过粗,而且要求均匀加入,故通常适用于将l-2mm的物料磨至85-5μm(干磨)或5-0.1μm(湿磨)。在粗磨矿时,振动磨的优点并不很显著,因而至今在选矿上尚未采用它代替普通球磨,但在化学工业上得到了发展。
目前德国洪堡厂生产的帕拉型振动磨,装球率为70%,电机110kw,可将30mm的物料磨至10μm,生产能力为15-20t/h。
但是,要使巨大重量振动是比较困难的,目前振动磨的直径始终未突破1m。
(6)喷射磨矿机:喷射磨是一种把物料的细磨与分级、干燥等作业相综合的新型于磨设备。主要用在化工和建筑材料工业,但最近有用于磨矿的趋势。
圆锥型气流喷射磨的构造示意图如图4-2-17。

喷射磨的工作情况是:用高温压缩争气或过热蒸汽或其他预热气体作介质。当压缩空气在燃烧室11预热后,经喷射管10的喷嘴放出时,因其突然减压而膨胀,以100—200m/s速度运动的气流,把自给矿管8中荡下的5-3mm的被磨物料沿切线方向吹人圆锥型的磨室内,利用高速运动着的矿粒间相互冲击及磨剥自行粉碎。已粉碎的矿粒在分组设备3的配合下进行分级,合格产品被气流带入旋风集尘器2中,粗颗粒经返回管4落入磨矿室的底部重新粉碎。
喷射磨的优点是设备结构简单,无运动部件,金属耗量低,生产率大,功率耗低,破碎比大,且能把磨碎与其他作业(化学处理、干燥与焙烧)同时进行。它在工艺方面的好处是,产物粒度均匀,过粉碎少,解离度高,选择性磨碎作用强.比球磨机和砾磨机产品的选别指标都要好。
用含铁石英岩的喷射磨产品经磁选后的选别指标与球良机及砾磨机的相比较,精矿品位约高2%-3%,铁的回收牢约高2%-15%。
上一篇:筛分设备及筛分分析方法
下一篇:棒磨机中棒的运动与磨矿作用
OD在线-OD在线(中国)
B体育·(中国)官网 - BSPORTS
bsports(中国)B—sports登录入口
千亿·球友会(中国)官方网站
qy球友会·(千亿)-官方网站
QY·千亿(球友会)官方网站
江南手机网页版_江南(中国)
万搏官方网页版-万搏(中国)
万搏登陆_万搏(中国)